梁山港新添科技元素——为火车卸车提速助力
发布日期:2023-06-20
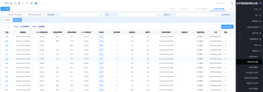
为满足火车卧铺卸车的靶向控制,升降侧翻机卸车工作学习效率,成功,梁山港新火大车卧铺卸车工作学习效率统计统计资料体系,满足了对卸车的过程 的多方位监视和统计资料研究分析,为梁山港经营管理提供了了有劲统计资料维持。
据熟悉,该设备化体现接入侧翻进线掌握设备化、散货路企交接检修设备化或是铁路FBA货物单轨衡设备化,体现对各设备化的资料浅析挖矿和神经网络算法浅析,体现了对车号、活动用时、车节数、单节活动转化率、局部活动用时、非活动用时或是出港时长等的资料浅析数目前分折浅析。体现调用上述内容运动状况和活动的资料浅析,可能精确测算侧翻机的活动转化率,利于管理方法专业人员适时修正活动方案,简化资源量系统配置,导致增长局部卸车转化率。下十步,梁山港将不断借助增高“创新科技原子”,充分利用相对数学、高效益的菅理形式,确保分娩高空作业的动态数据讲解和精准定位监管,为梁山港运营管理转化率和功能重量的多方位上升逐步形成牢固的基础。文/图|魏义理(高新科技讯息核心)